Zum Hauptinhalt springen Zur Suche springen Zur Hauptnavigation springen

Explosionszeichnung

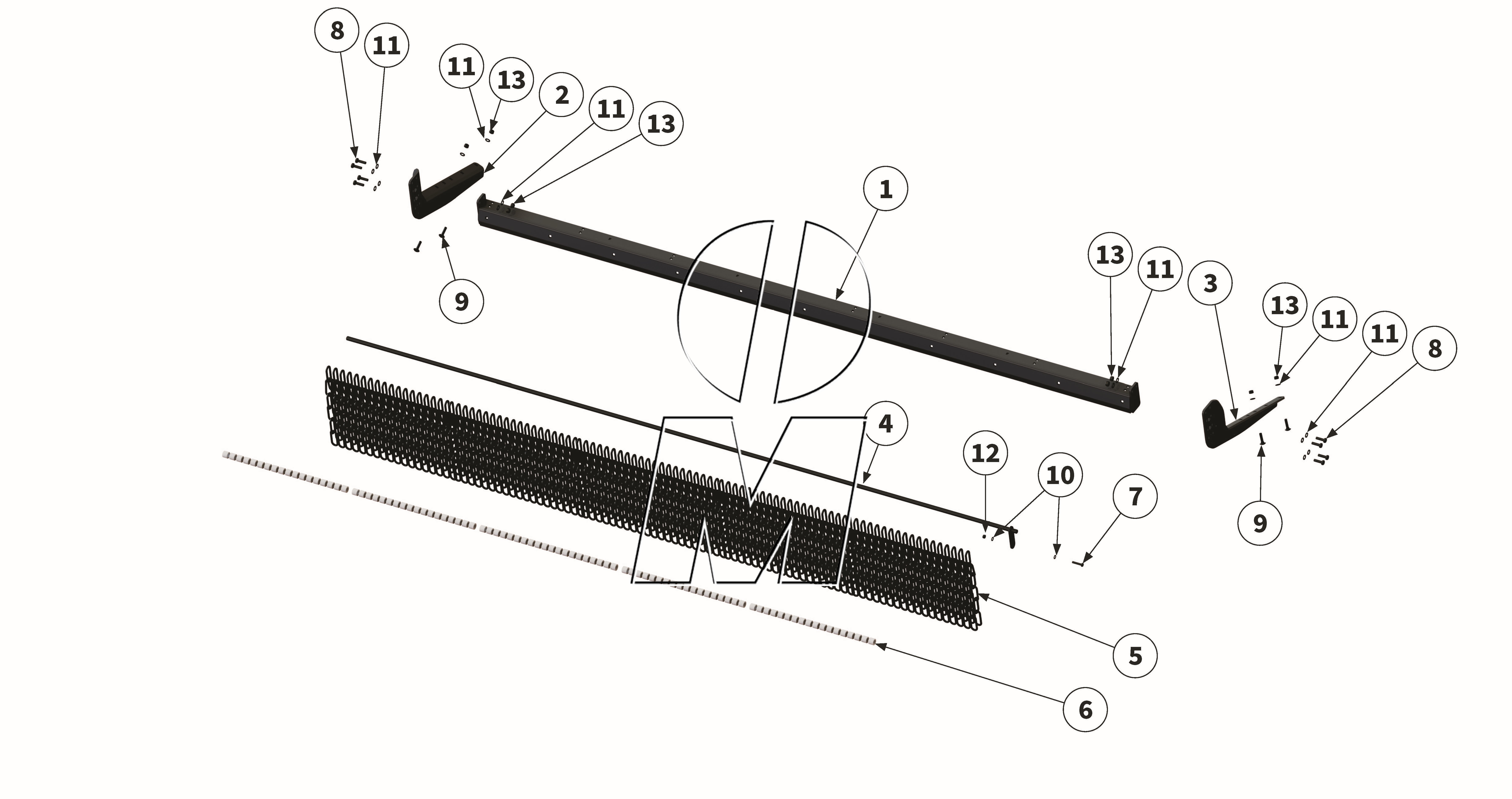
Zeichnung 18: Erweiterte Schutzeinrichtung Kette (P_VS_ET_24_WEL)

Zeichnung 18: Erweiterte Schutzeinrichtung Kette
Modell: MU-M-VS 280 - 300
Ab Serie: 2024
Ausgabe: 2025-07
Bestellcode: P_VS_ET_24_WEL

Position Bestellcode
Artikel-Nr.
Artikel Arbeitsbreite Ident.-Nr. GPSR-Info Anzahl
1 00040731
00040731
Querstrebe 280 (00040731) finden Sie hier 1 Details
1 00047772
00047772
Querstrebe 300 (00047772) finden Sie hier 1 Details
2 00040734
00040734
Anbauadapter 280+300 (00040734) finden Sie hier 1 Details
3 00040735
00040735
Anbauadapter 280+300 (00040735) finden Sie hier 1 Details
4 MU0806458
00037802
Pendelwelle 280 (00037802, MU0806458) finden Sie hier 1 Details
4 MU0807110
00037974
Pendelwelle 300 (00037974) finden Sie hier 1 Details
5 00040745
00040745
Kette 280 (00040745, 00040746) finden Sie hier 95 Details
5 00040745
00040745
Kette 300 (00040745, 00040746) finden Sie hier 102 Details
6 2405021057
00044189
Distanzhülse 280 (00009224, 00044189, 2405021057) finden Sie hier 92 Details
6 2405021057
00044189
Distanzhülse 300 (00009224, 00044189, 2405021057) finden Sie hier 99 Details
7 MU980112
00043712
Schraube 280+300 (00043712, MU0099904, MU980112) finden Sie hier 1 Details
8 MU980222
00043603
Schraube 280+300 (00001346, 00043603, MU0099903, MU980222) finden Sie hier 8 Details
9 MU980250
00043325
Schraube 280+300 (00043325, MU980250) finden Sie hier 4 Details
10 MU0099999
00043249
Scheibe 280+300 (00043249, MU0099999, MU980102) finden Sie hier 2 Details
11 MU980202
00043232
Scheibe 280+300 (00001223, 00043232, MU980202) finden Sie hier 20 Details
12 MU0099961
00043191
Mutter 280+300 (00043191, MU0099961, MU7T1018, MU980101) finden Sie hier 1 Details
13 MU0099960
00043177
Mutter 280+300 (00043177, MU0099960) finden Sie hier 12 Details
- Artikel ist vorrätig
- Artikel beim Lieferanten bereits bestellt
- Besorgungsware, besondere Bedingungen beachten
- Artikel nicht vorrätig, i.d.R. kurzfristig lieferbar
Loading…
Loading the web debug toolbar…
Attempt #