8.1 Gülletechnik
Gülletechnik
- 0. Müthing-Mulchgeräte Ersatzteile
- 1. Säen, Düngen, Pflegen
- 2. Erntetechnik
- 3. Bodenbearbeitung
- 4. Hof, Stall, Garten, Forst
- 5. Fahrzeug- und Antriebstechnik
- 6. Werkstattbedarf
- 7. Arbeitsschutz
-
8. Stalldung- und Gülletechnik
-
8.1 Gülletechnik
- 8.1/10 Schieber, Ventile, Abscheider
- 8.1/12 Kupplungen italienisches System
- 8.1/14 Kupplungen System Perrot
- 8.1/16 Kupplungen System Bauer
- 8.1/18 Kupplungen Feuerwehr, Tankwagen
- 8.1/20 Saugrohre, Rührlanzenrohre
- 8.1/22 Saug-, Druckschläuche
- 8.1/26 Schlauchschellen, Klemmschellen
- 8.1/30 Kompressoren
- 8.1/32 Drehkolbenpumpen
- 8.1/34 Jauchepumpenteile
- 8.1/36 Güllemixerteile
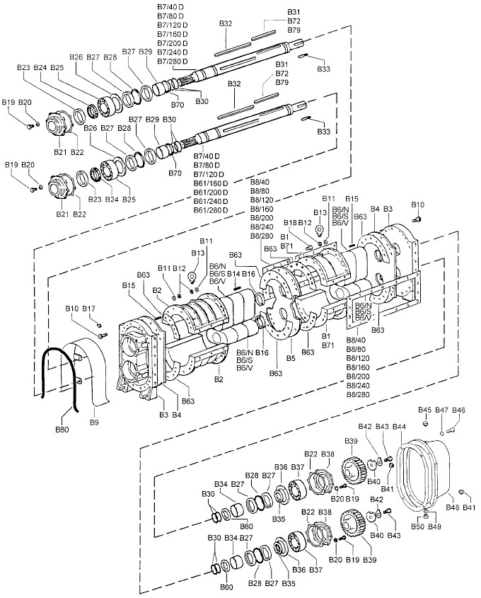
- 8.1/40 Güllewagenteile
- 8.1/42 Biogasanlagenteile
- 8.2 EISELE Pumpen und Rührwerke
- 8.3 Stalldungausbringung
-
8.1 Gülletechnik
- Abverkauf / Restposten
- Aktion
Produkte filtern
–